1277星际电子

新闻资讯_涡卷升降发条弹簧-恒力清静门窗弹簧-碳刷变力窗帘弹簧-1277星际电子细密金属有限公司

国家高新企业

新闻资讯_涡卷升降发条弹簧-恒力清静门窗弹簧-碳刷变力窗帘弹簧-1277星际电子细密金属有限公司

天下服务热线:

0755-27058501

18665909007

新闻资讯_涡卷升降发条弹簧-恒力清静门窗弹簧-碳刷变力窗帘弹簧-1277星际电子细密金属有限公司

国家高新企业

新闻资讯_涡卷升降发条弹簧-恒力清静门窗弹簧-碳刷变力窗帘弹簧-1277星际电子细密金属有限公司

天下服务热线:

0755-27058501

18665909007

新闻资讯_涡卷升降发条弹簧-恒力清静门窗弹簧-碳刷变力窗帘弹簧-1277星际电子细密金属有限公司

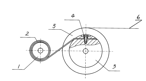
反绕式恒力发条机构

2023-02-07 11:33:53

现在,,用于种种平衡装置的恒力弹簧,,使用时都是直接将恒力弹簧拉开或推开,,直线运动使恒力弹簧输出推力或拉力。。。其有一点弱点是当受力行程越长,,推力或拉力的转变就越大,,很难

新闻资讯_涡卷升降发条弹簧-恒力清静门窗弹簧-碳刷变力窗帘弹簧-1277星际电子细密金属有限公司

影响弹簧寿命的因素

2023-02-06 10:10:37

任何工具都有有限的使用寿命,,这包括弹簧,,无论它们的质量有多高。。。事实,,有几个因素会影响他们的寿命,,并且可以延伸或缩短命命。。。 一、弹簧类型 选择合适的弹簧势在必行。。。差别

新闻资讯_涡卷升降发条弹簧-恒力清静门窗弹簧-碳刷变力窗帘弹簧-1277星际电子细密金属有限公司

一种基本弹簧——动力弹簧

2023-02-03 10:49:56

一种基本弹簧动力弹簧,,其具有差别于通俗弹簧形式所共有的特征和能力。。。从外观上看,,与占用相同空间的螺旋动力弹簧相比,,它具有相对较低的扭矩梯度、更长的偏转和更高的启动扭

新闻资讯_涡卷升降发条弹簧-恒力清静门窗弹簧-碳刷变力窗帘弹簧-1277星际电子细密金属有限公司

恒力弹簧:丈量可压缩质料厚度的测厚仪

2023-02-02 14:11:47

一种测厚仪,,更详细地说,,涉及用于丈量可压缩质料的带、带等的厚度和压缩率的装备运动,,丈量相对容易压缩或变形的质料的厚度,,例如纺织织物、垫子或棉絮形式的其他纤维组件或

新闻资讯_涡卷升降发条弹簧-恒力清静门窗弹簧-碳刷变力窗帘弹簧-1277星际电子细密金属有限公司

恒力弹簧的特征与应用

2023-02-01 15:43:05

恒力弹簧差别于古板的螺旋纠葛弹簧。。。它们由预张紧的高产量金属带(通常是不锈钢)制成。。。恒力弹簧被归类为拉伸弹簧。。。盘绕时,,金属带以近乎恒定的阻力反抗开卷。。。当舒展时,,金属

  • 首页
  • 上一页
  • 94
  • 95
  • 96
  • 97
  • 98
  • 99
  • 100
  • 101
  • 102
  • 103
  • 104
  • 下一页
  • 末页
  • 【网站地图】