1277星际电子

反绕式恒力发条机构_涡卷升降发条弹簧-恒力清静门窗弹簧-碳刷变力窗帘弹簧-1277星际电子细密金属有限公司

国家高新企业

反绕式恒力发条机构_涡卷升降发条弹簧-恒力清静门窗弹簧-碳刷变力窗帘弹簧-1277星际电子细密金属有限公司

天下服务热线:

0755-27058501

13827443413

反绕式恒力发条机构_涡卷升降发条弹簧-恒力清静门窗弹簧-碳刷变力窗帘弹簧-1277星际电子细密金属有限公司

国家高新企业

反绕式恒力发条机构_涡卷升降发条弹簧-恒力清静门窗弹簧-碳刷变力窗帘弹簧-1277星际电子细密金属有限公司

天下服务热线:

0755-27058501

13827443413

反绕式恒力发条机构

泉源:1277星际电子细密 时间:2023-02-07

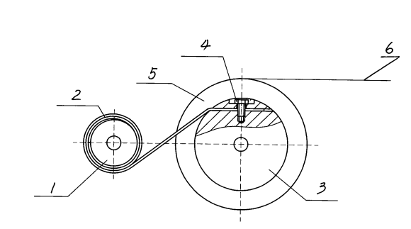
       现在,,,,用于种种平衡装置的恒力弹簧,,,,使用时都是直接将恒力弹簧拉开或推开,,,,直线运动使恒力弹簧输出推力或拉力。。。 。。其有一点弱点是当受力行程越长,,,,推力或拉力的转变就越大,,,,很难抵达恒力的要求。。。 。。一种受迫行程较长,,,,张力转变较小的恒力弹簧机构——反绕式恒力发条机构,,,,其特征在于:包括从动轮、收线轮和输出轮,,,,恒力发条一端容积套在从动件内,,,,恒力发条另一端牢靠在收线轮上车轮; 输出轮与毛轮和系留讨论同轴。。。 。。图1结构示意图(1.被动轮2.恒力弹簧3.卷收轮4.牢靠螺栓5.输出轮6.绳索)
 

1277星际电子(中国游)官方游戏网址 
 
       绕式恒力发条机构的事情原理在于:将成型的恒力弹簧卷套在一个被动轮上,,,,把恒力弹簧的一端用牢靠螺栓牢靠在卷收轮上,,,,与卷收轮同轴上设有输出轮,,,,卷收轮与输出轮牢靠毗连,,,,输出轮上纠葛着绳索,,,,当拉出绳索时,,,,输出轮发动卷收轮顺时针旋转,,,,被动轮逆时针旋转,,,,这样,,,,恒力弹簧被反卷在卷收轮上;;;当放松绳索时,,,,恒力弹簧顺时针旋转,,,,拉动卷收轮逆时针旋转,,,,使得恒力弹簧自动回复到被动轮上,,,,同时将绳索卷收回输出轮上。。。 。。通过绳索的拉出和接纳,,,,可输出恒定的拉力。。。 。。如将绳索换成电线或软管,,,,也可成为一个恒力的卷收装置。。。 。。

       该装置的有益效果是:将恒力弹簧反绕在卷收轮上,,,,使得恒力弹簧的直线运动,,,,变为旋转运动。。。 。。将恒力弹簧反绕在一个直径相对较大的卷收轮上,,,,使恒力弹簧爆发扭矩,,,,由于恒力弹簧每层绕上去的半径转变相关于卷收轮的半径转变很。。。 。。,,,以是当事情行程较长时,,,,恒力弹簧在旋转历程中爆发的扭矩坚持恒定,,,,然后再将恒力弹簧爆发的扭矩,,,,转化成拉力,,,,这样所爆发的拉力也坚持恒定。。。 。。

       1277星际电子为许多行业设计和制造恒力弹簧。。。 。。我们可以提供多种设计方案,,,,确保您的项目只使用最高质量的弹簧,,,,无论您有什么需求,,,,我们都可以为您高效地制造恒力弹簧。。。 。。

【网站地图】