2023-06-28 15:45:27
地下清静阀通常作为油气井内生产管道的一部分装置,,以防止高压和高温地层流体意外传输到井外貌。。 这些地下清静阀旨在控制地下地层爆发的流体,,以应对种种异常和潜在危险的情形
2023-06-27 10:29:13
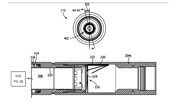
动力弹簧通过将弹簧的内钩毗连至轴向柱并将弹簧的外钩毗连至发条盒来存储和转达能量,,其中至少柱或发条盒相关于相互旋转。。为了能够将弹簧卷绕到足以用于预期产品的直径,,动力
2023-06-26 11:12:18
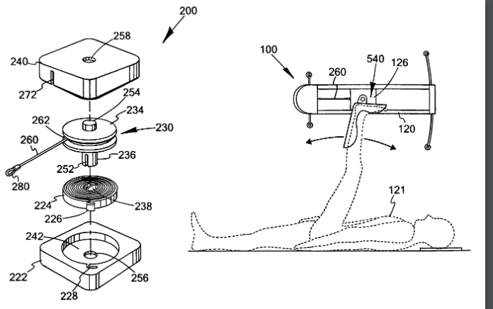
许多磨炼装置是已知的。。无论磨炼装置是用于娱乐或健身目的,,照旧用于更要害的物理治疗目的,,都很是需要增添磨炼装置的无邪性例如,,若是可以使用紧凑的装置有用地改变这种磨炼
2023-06-25 14:41:18
古板的反绕预应力弹簧,,凭证古板的结构手艺由相同的质料制成。。在刷新的弹簧中,,弹簧元件的内端包括牢靠到心轴上的延伸的孔眼部分。。当弹簧元件绕心轴回绕时,,初始质料圈包括延
2023-06-20 15:03:45
恒力弹簧是一种有弹性的卷起弹簧可用于接地护套或导线电缆护套的无故障毗连。。为毗连提供恒定和长期的实力,,从而确保纵然在多年后仍能坚持优异的毗连,,无需任何工具即可手动安