地下清静阀通常作为油气井内生产管道的一部分装置,,,,,,以防止高压和高温地层流体意外传输到井外貌。。。。。。 这些地下清静阀旨在控制地下地层爆发的流体,,,,,,以应对种种异常和潜在危险的情形。。。。。。当装置在生产油管中时,,,,,,地下清静阀通常被称为油管可接纳清静阀,,,,,,由于它们可以通过拉回生产油管将其收回到地面。。。。。。通常通过在地面控制的液压流体压力举行操作,,,,,,并通过液压控制管线传输至油管中。。。。。。
由于通常在难题的操作条件下使用多年,,,,,,因此地下清静阀可能会爆发故障。。。。。。 例如,,,,,,处于关闭位置的地下清静阀最终可能形成走漏路径。。。。。。 或者,,,,,,处于关闭位置的地下清静阀在启动时可能无法准确翻开。。。。。。 若是地下清静阀在关闭位置泛起故障,,,,,,则必需将其移至翻开位置并永世锁定在那里,,,,,,以便生产操作可以继续。。。。。。
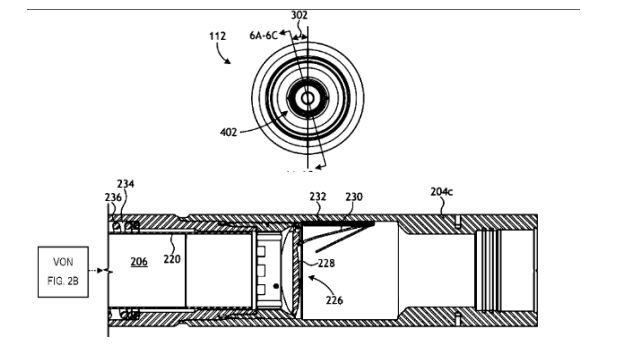
新型设计的一种地下清静阀,,,,,,其能够使用锁定翻开工具和设置在地下清静阀内的响应锁定翻开活塞永世地锁定在翻开位置。。。。。。清静阀112还在壳体202内限制了下室234,,,,,,该下室234可以形成致动器活塞孔210的一部分,,,,,,例如其细长延伸部。。。。。。 动力弹簧236可设置在下室234内。。。。。。 动力弹簧236向上偏压致动凸缘224和致动套筒218,,,,,,这又沿相同偏向偏压致动活塞212。。。。。。 因此,,,,,,动力弹簧236的舒展导致致动活塞212使其在致动活塞孔210内向上移动。。。。。。
动力弹簧通常是为客户特定的应用而设计的,,,,,,用于汽车、航空航天和国防、医疗、工业、电子市场和商品。。。。。。1277星际电子细密提供定制动力弹簧和古板动力弹簧。。。。。。1277星际电子履历富厚的工程师可以资助您选择知足您的空间、生命周期、负载和操作要求的弹簧设计。。。。。。
定制化产品是1277星际电子细密细密金属有限公司的专长,,,,,,作为一家提供全方位服务的细密制造公司,,,,,,我们履历富厚的工程师对客制化零件拥有普遍的知识,,,,,,并举行周全的开发制造功效剖析,,,,,,以从起源设计阶段支持和知足应用需求。。。。。。