1277星际电子

应用调理滑轮轴线张紧装置的弹簧_涡卷升降发条弹簧-恒力清静门窗弹簧-碳刷变力窗帘弹簧-1277星际电子细密金属有限公司

国家高新企业

应用调理滑轮轴线张紧装置的弹簧_涡卷升降发条弹簧-恒力清静门窗弹簧-碳刷变力窗帘弹簧-1277星际电子细密金属有限公司

天下服务热线:

0755-27058501

13827443413

应用调理滑轮轴线张紧装置的弹簧_涡卷升降发条弹簧-恒力清静门窗弹簧-碳刷变力窗帘弹簧-1277星际电子细密金属有限公司

国家高新企业

应用调理滑轮轴线张紧装置的弹簧_涡卷升降发条弹簧-恒力清静门窗弹簧-碳刷变力窗帘弹簧-1277星际电子细密金属有限公司

天下服务热线:

0755-27058501

13827443413

应用调理滑轮轴线张紧装置的弹簧

泉源:1277星际电子细密 时间:2023-07-17

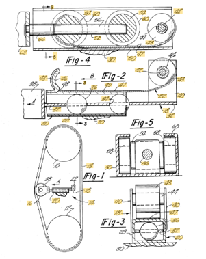
       用于坚持插在自动带轮元件和从动带轮元件之间的古板传动带中的预定张紧度的机构。。。。。现有带张紧(拉紧)装置使用具有正弹簧刚度的弹簧。。。。。当使用这种弹簧时,,皮带张紧装置仅在一种偏转条件下提供所需的或指定的力。。。。。若是在首次装置皮带时将装备调解为施加适当的皮带张力,,那么在一段时间后,,任何皮带拉伸或磨损都会导致装备提供的力缺乏以收紧皮带松懈。。。。。该装置必需按期手动重新调解。。。。。


1277星际电子(中国游)官方游戏网址
 

       一种新的张紧器,,包括在牢靠支持装置和皮带接合皮带轮之间受拉的恒力弹簧。。。。。提供滑道以增进滑轮穿过领路径的相对无摩擦的运动。。。。。在包括驱动带轮、从动带轮和围绕所述带轮运转的动力传输带的动力传输系统中:刷新包括用于将带坚持在教育状态下而与带长度或带磨损的转变无关的装置; ;;;;;所述刷新装置包括与皮带接合的空转轮装置,,其能够在整个领路径上整体移动; ;;;;;牢靠支持装置; ;;;;;以及在空转轮装置和牢靠支持装置之间受训以在整个传送历程中坚持恒定的预定移动力的零系数弹簧装置。。。。。惰轮位置的允许规模。。。。。
  
1277星际电子(中国游)官方游戏网址

       恒力弹簧是拉伸弹簧的一种。。。。。将具有预设曲率的钢带牢牢土地绕起来,,使得钢带的每一圈都靠在其内部相邻钢带上。。。。。弹簧以拉力、线性运动方式驱动,,其偏转阻力源自质料的刚度和弹簧结构。。。。。与其他拉伸弹簧差别,,无论偏转水平怎样,,都会施加一致水平的力。。。。。
 
       1277星际电子是一家专业提供高精度发条弹簧的生产厂家。。。。。在海内已经抵达领先水平,,跟1277星际电子相助您能节约产品开发时间,,找出凌驾您预期的优化解决方案。。。。。真诚接待各界新老客户和朋侪莅临公司旅行指导,,洽谈营业相助,,1277星际电子细密将竭诚为您服务!

 

【网站地图】