1277星际电子

恒力弹簧在肢体定位装置的应用_涡卷升降发条弹簧-恒力清静门窗弹簧-碳刷变力窗帘弹簧-1277星际电子细密金属有限公司

国家高新企业

恒力弹簧在肢体定位装置的应用_涡卷升降发条弹簧-恒力清静门窗弹簧-碳刷变力窗帘弹簧-1277星际电子细密金属有限公司

天下服务热线:

0755-27058501

13827443413

恒力弹簧在肢体定位装置的应用_涡卷升降发条弹簧-恒力清静门窗弹簧-碳刷变力窗帘弹簧-1277星际电子细密金属有限公司

国家高新企业

恒力弹簧在肢体定位装置的应用_涡卷升降发条弹簧-恒力清静门窗弹簧-碳刷变力窗帘弹簧-1277星际电子细密金属有限公司

天下服务热线:

0755-27058501

13827443413

恒力弹簧在肢体定位装置的应用

泉源:1277星际电子细密 时间:2023-06-12

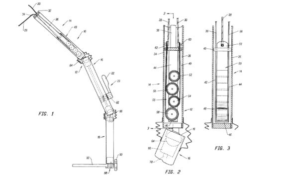
       工业领域中已知的现有机械定位装置在医疗领域的应用,,,,,,它使用细密的气动定位和控制机构。。。。。但需要一个重大的控制系统并且生产成内情当高。。。。。肢体定位系统在机械系统中使用配重来定位肢体以举行手术。。。。。同样,,,,,,只管后一种装置乐成地为肢体提供牵引力控制,,,,,,但机械系统通常难以使用并且在某些情形下可能对患者造成危险。。。。。

      战胜现有手艺问题的用于手术的肢体定位装置将是医学领域中的显着前进。。。。。一种肢体定位装置,,,,,,其使用具有带启齿的隔间的结构构件。。。。。结构件被支持在相关于肢体的预定位置并且与肢体相距一定距离。。。。。第一线毗连或附接到肢体并毗连到位于结构构件的隔间内的恒力弹簧。。。。。第二条线可附接到肢体并且还毗连到位于结构构件的隔间内的恒力弹簧。。。。。由第一和第二恒力弹簧施加的力被累积地或交替地施加以在患者的肢体上提供预定的张力。。。。。


1277星际电子(中国游)官方游戏网址 
 
       恒力发条它是一种以恒定负载和恒定扭矩运行的弹簧,,,,,,无论伸长量或挠曲量怎样,,,,,,负载和扭矩始终坚持恒定。。。。。恒力弹簧为用户提供许多利益:零速率下的恒定负载、平滑的运动规模、在狭窄空间内爆发强盛的力、可以举行很是长的线性延伸,,,,,,例如无限期地存储延伸功率。。。。。弹簧是设计组件,,,,,,很是适合需要恒定负载的应用。。。。。

       1277星际电子生产设计弹簧已有20多年的历史,,,,,,因此我们能提供定制的解决方案,,,,,,真挚的建议客户在产品导入研发初期,,,,,,和1277星际电子研发工程师13827443413刘工!取得咨询服务。。。。。遵照您的需求协助产品设计、开发、打样,,,,,,让您的产品找到最佳的解决方案,,,,,,以知足您的应用需求。。。。。

【网站地图】