恒力弹簧的显示器升降调解装置
泉源:1277星际电子细密 时间:2023-03-13
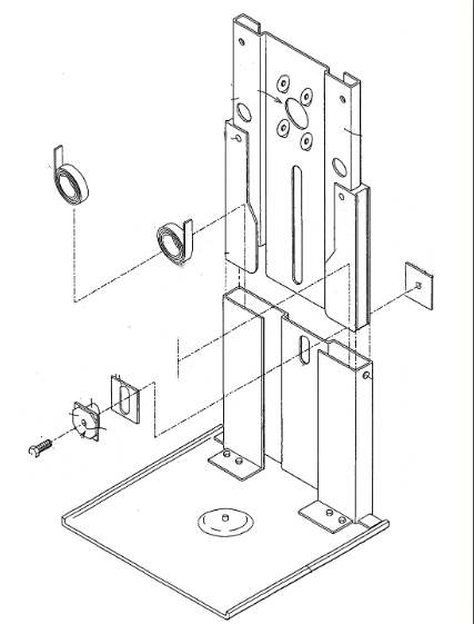
用于个人盘算机系统或电视机的显示器已经力争轻量化。。。。。。这种显示器装置在显示器支持装置所具有的框架底座之前,,,,可以自由调理角度,,,,从而可以改变显示器的偏向,,,,以知足用户的喜欢。。。。。。
升降液晶显示器的升降装置中,,,,缩短螺旋弹簧在笔直偏向上向升降构件施加弹力,,,,升降构件通过第一支持支持液晶显示器 。。。。。。在升降件的高度差别的情形下,,,,缩短螺旋弹簧缩短的长度差别。。。。。。因此,,,,弹性支持液晶监视器的缩短螺旋弹簧的弹力是差别的。。。。。。当升降件位于较低位置并且缩短螺旋弹簧缩短时,,,,在这种情形下弹力变大,,,,推入升降件需要较大的力。。。。。。如上所述,,,,由于支持升降件的弹力凭证笔直位置差别,,,,保存使用时无法通过稳固的操作力改变笔直位置的问题。。。。。。
一种恒力弹簧的显示器的升降调解装置,,,,可以解决该问题纵然升降部件的上下位置差别,,,,用户也可以通过稳固的操作力使升降部件上下移动。。。。。。适用于支持诸如个人盘算机或电视机的CRT、液晶显示器的支持装置可以自由调解显示器的角度。。。。。。
恒力弹簧的包括零速率下的恒定负载、平滑的运动规模、在小空间内爆发强盛的力、可以举行极长的线性延伸以及在延伸时无限期地贮存能量,,,,恒力关于需要恒定负载的应用,,,,弹簧是一种精彩的设计组件。。。。。??K剂亢懔Φ缮杓剖庇屑父鲆σ蛩兀,,,例如孔/轴 、负载、施加负载的事情高度和所需质料,,,,以及包括线材厚度的其他输入参数,,,,线径、活动圈数、事情高度、事情高度载荷。。。。。。
1277星际电子生产设计弹簧已有20多年的历史,,,,因此我们能提供定制的解决方案,,,,真挚的建议客户在产品导入研发初期,,,,和1277星际电子研发工程师13827443413刘工!取得咨询服务。。。。。。遵照您的需求协助产品设计、开发、打样,,,,让您的产品找到最佳的解决方案,,,,以知足您的应用需求。。。。。。