恒力弹簧用于远程手术的制动器
泉源:1277星际电子细密 时间:2022-07-25
微创医疗手艺用于镌汰在诊断或手术历程中可能受损的外来组织的数目,,,,从而镌汰患者的恢复时间、不适和不良副作用。。。。外科医生可以在控制台上操作控制器以间接操作毗连到远程操作致动器的器械。。。。该器械可从远程控制的致动器上拆卸下来,,,,从而可以单独对器械举行消毒并选择将其用作举行外科手术所需的器械。。。。连系起来。。。。手术历程中可能会替换器械。。。。
使用远程操作仪器举行手术带来了新的挑战。。。。一个问题是提供一种远程操作的马达机构,,,,其支持可以相关于患者定位的远程操作的致动器。。。。这些特征相当极重,,,,可能重达 12 至 24 公斤。。。。该机构必需在患者上方移动并仔细定位。。。。因此,,,,需要平衡手术器械、相关联的致动器和支持结构,,,,以便可以清静且容易地定位手术器械。。。。
恒力弹簧用不锈钢带卷制而成,,,,使适当相关于被拉伸而卷起时,,,,弹簧在低应力状态下松懈。。。。当它睁开时,,,,恢复力主要来自靠近松开的弹簧卷的部分。。。。详细来说,,,,力来自从圆形过渡到平面的区域。。。。力不是来自完全睁开或仍在纠葛的滚筒部分。。。。协力险些是恒定的,,,,由于该区域的几何形状在弹簧睁开时险些坚持恒定。。。。
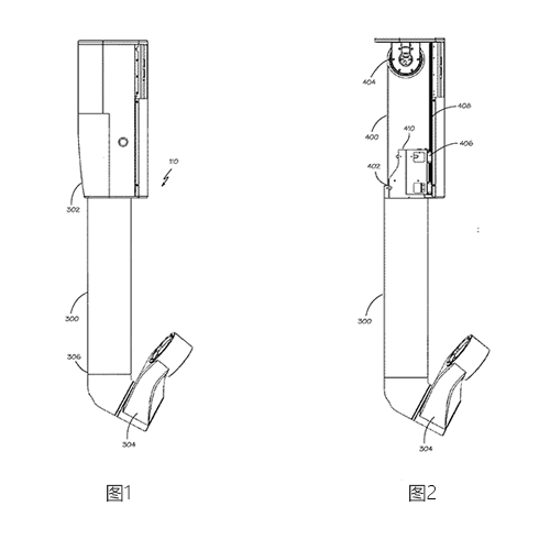
如图2所示,,,,恒力弹簧400在恒力弹簧的下端402处毗连到笔直柱300。。。。恒力弹簧400围绕由可延伸支持组件110的上端支持的鼓404纠葛。。。。恒力弹簧反抗作用在它所支持的结构上的重力,,,,包括笔直柱300和手术器械。。。。恒力弹簧400为支持立柱300和附接结构提供基本恒定的平衡力,,,,但与单独使用恒力弹簧所能实现的相比,,,,其支持负载更恒定且差别。。。。需要提供一种可以赔偿的平衡力。。。。
恒力弹簧装置,,,,包括支架、由支架可转动地支持的滚筒、以及纠葛在滚筒上的恒力弹簧。。。。电机牢靠在支架上,,,,为滚筒提供赔偿力。。。。马达可以位于滚筒的内部容积内。。。?????刂颇?????榭梢耘连到马达以控制赔偿力。。。。位置传感器可以耦合到控制?????。。。。赔偿力可以响应来自位置传感器的信号。。。。恒力弹簧可以支持负载并平衡负载的重力。。。。当负载靠近运动规模的最后时,,,,可以调解赔偿力。。。。
从恒力弹簧的初始设计阶段到生产和最终组装,,,,1277星际电子细密能为客户节约产品开发时间,,,,找出凌驾您预期的优化解决方案,,,,在产品设计中没有可制造性限制因素,,,,最好的产品质量最好的支持和服务来知足客户的需求。。。。1277星际电子细密是全球的弹簧制造商,,,,拥有二十多年的弹簧制造履历,,,,我们真挚的建议客户在产品导入研发初期,,,,和1277星际电子研发工程师13827443413刘工!取得咨询服务。。。。遵照客户之需求协助产品设计、开发、打样,,,,让您的产品找到最佳的解决方案,,,,以知足您的应用需求。。。。