曾几何时你是否做过有一天可以不必自己系鞋带的美梦?????能有一种自动系鞋带的鞋,,,,现在已经实现了!自动鞋最大的亮点是无需用户弯腰系鞋带。。。。通过球鞋内置的传感器,,,,它甚至还能实时凭证运动情形来自动调解松紧度。。。。
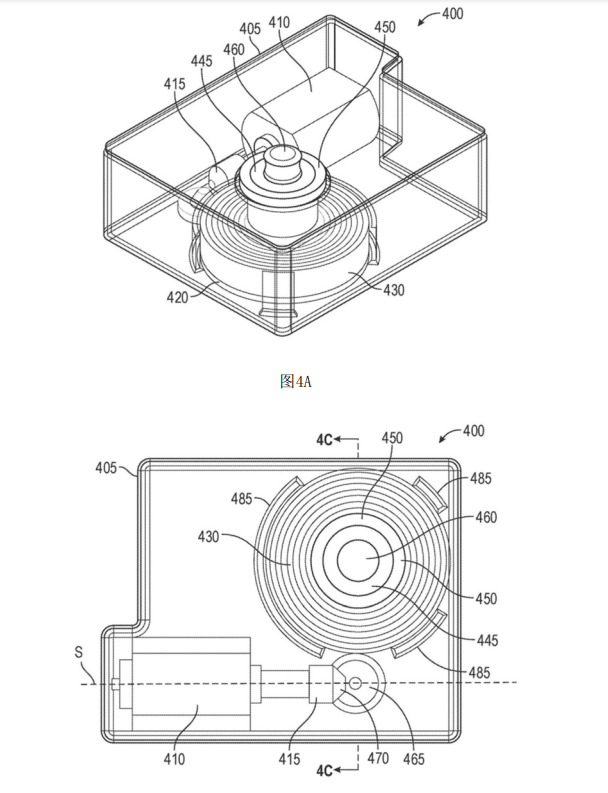
自动鞋系鞋带系统接纳了动力弹簧系鞋带引擎,,,,动力弹簧的系鞋带引擎400可以包括壳体405(包括基座406和盖408)、马达410、轴415、弹簧心轴420、动力弹簧430、离合器435、杆440、联接器(线轴心轴)445、联接器轴承450、线轴460、从动齿轮465、驱动齿轮470、弹簧心轴轴承475和从动齿轮轴承480。。。。
动力弹簧系鞋带引擎可以由马达驱动以旋转动力弹簧以将能量存储在动力弹簧中。。。。在系鞋带事务时代,,,,动力弹簧可以选择性地并且可控制地将存储的能量释放到联接器,,,,以使线轴旋转,,,,并且在系鞋带事务之间,,,,动力弹簧可以旋转以存储能量。。。。动力弹簧系统可以使用少量的小零件来提供紧凑、清静且经济高效的系鞋带引擎。。。。
动力弹簧依其放松后的形状分为自然型动力弹簧与预力型动力弹簧。。。。相较下,,,,预力型动力弹簧能多贮存25%到55%的扭力,,,,并可提供较多的有用转动圈数。。。。
动力弹簧,,,,可以组装到客户的外壳中以便连忙组装,,,,或者提供一个牢靠环,,,,用于将弹簧转移到客户的外壳中。。。。动力弹簧扭矩和总圈数是动力弹簧设计中最主要的输出要求。。。。动力弹簧的性能取决于弹簧质料的尺寸(厚度、宽度和长度)和可用空间(外壳和心轴直径)。。。。
1277星际电子细密的动力弹簧由301高强度不锈钢制成。。。。其他质料,,,,可凭证定制应用的要求使用。。。。它的主要特点是每单位变形提供高扭矩正常剩余应力。。。。
深圳市1277星际电子细密弹簧专为客户特定应用而设计。。。。使用专业的手艺来抵达您指定的要求,,,,我们真挚的建议客户在产品导入研发初期,,,,和1277星际电子研发工程师13727443413刘工取得咨询服务。。。。遵照客戶之需求及协助產品设计、开发、打样,,,,让您的产品找到最佳的解决方案,,,,以知足您的应用需求。。。。